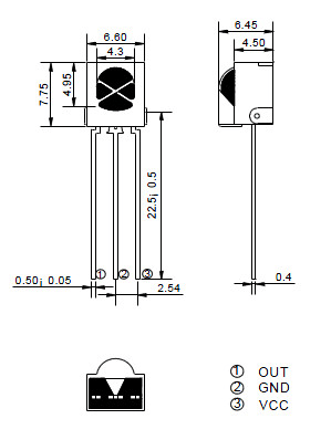
リモコンを受信するためのダイオードです。
- 型番:VS1838B;
- 動作電圧:2.7V~5.5V
- 受信距離:18M;
- 受信角度:± 45度;
- 低レベル電圧:0.4V
- 高レベル電圧: 4.5V;

データシート

VS1838B データシート(PDF)
部品番号: VS1838B. ダウンロード. ファイルサイズ: 301Kbytes. ページ: 3 Pages. 部品情報: Infrared Receiver Module. メーカー: List of Unclassifed Manufacturers.

Cirkit Designer IDE
Cirkit Designer IDE is an all-in-one circuit design tool that helps you create and share electronic circuits with ease.
この配線図はCirkitDesigner IDEを使っています。



